百度子站添加工具,批量添加二级域名站点
程序说明
本软件为本博主原创,别再下载网上那种获取cookies值和token值通过post的提交的易语言编写的软件了,本博主下载了数款都失效了,更重要的是不安全。
此版本的百度站长批量添加子站工具前台版在下本文下方付费即可获取,写成了小白都可以使用的前台版作为通用版,此版本亦为本人自用的版本;
该版本的百度站长批量添加子站工具同样是使用按键精灵编写,下文源码作为未优化前的版本,如懂按键精灵的朋友,仅供调试使用;
次版本可实现功能如下:
1.自动绑定浏览器句柄,并载入百度站长工具的站点管理页面,直达站点管理的批量添加子站添加页面;
2.自动生成二级域名前缀,前缀长度可自定义设置,每次生产10个二级域名,保存到本地的文件为:二级域名前缀.txt和二级域名前缀+域名.txt;
3.自动添加二级域名子网站,自动确认,自动识别错误并点击忽略错误;
4.优化提交速度,比post提交的二级域名子站点添加软件的添加速度更快;
5.优化提交站点后页面等待的时间长短,每次打开新页面,已经操作过的页面保留不动,防止因为网络问题造成的延时导致的域名添加失败,且更加节省操作时长;
6.多的不说了,这个工具就是适合当泛站群添加后推送的神器,自动添加1000个子站点为止!
源码截图
下图为使用按键精灵编写的程序的源码界面:
程序源码
/*
知悉:
程序由本博客首发,通过按键精灵编写;
屏幕分辨率为:1920*1080;
使用搜狗浏览器,高速模式(运用到默认快捷键:ctrl + n / 新建标签页;ctrl + shift + w/关闭所有标签;)
原理:
自动生成二级域名前缀(保存至C盘根目录)----模拟手工提交(自动忽略重复的错误)
*/
UserVar 域名="ssoos.cn" "域名"
UserVar 二级域名长度=8 "二级域名长度"
/*
UserVar 域名=ssoos.cn "域名"
UserVar 二级域名长度=8 "二级域名长度"
*/
根目录 = "C:\"
//下面是程序正文===================================================
保存文件夹路径 = 根目录 + "=================" + 域名
二级前缀路径 = 保存文件夹路径 + "\二级前缀.txt"
二级域名路径 = 保存文件夹路径 + "\二级域名.txt"
'获取当前时间
Function 当前时间
当前时间 = Plugin.Sys.GetDateTime() & " "
End Function
Randomize //初始化随机数生成器
'1.检测文件夹是否存在,如不存在则新建
Function 检测文件夹(文件夹)
Set fso = CreateObject("Scripting.FileSystemObject")
IsFile = fso.FolderExists(文件夹)
If IsFile = 0 Then
Call Plugin.File.CreateFolder(文件夹)
Else
//TracePrint 文件夹&" 存在"
End If
End Function
'2.检测文件是否存在,如不存在则新建
Function 检测文件(文件)
IsFile = Plugin.File.IsFileExit(文件)
If IsFile = false Then
Call Plugin.File.WriteFileEx(文件, "")
Else
//TracePrint 文件&" 存在"
End If
End Function
Function 生成路径
检测文件夹(保存文件夹路径)
检测文件 (二级前缀路径)
检测文件 (二级域名路径)
TracePrint "路径生成完毕"
End Function
Function 搜狗浏览器定位
'1.绑定推荐软件
浏览器 = Plugin.Window.Find( "SE_SogouExplorerFrame",0)
'2.激活、还原、最大化浏览器
Call Plugin.Window.Active(浏览器)
Delay 300
Call Plugin.Window.Restore(浏览器)
Delay 300
Call Plugin.Window.Max(浏览器)
Delay 300
'3.下面这句是得到窗口句柄的客户区大小
sRect = Plugin.Window.GetClientRect(浏览器)
Delay 300
dim MyArray
MyArray = Split(sRect, "|")
L = Clng(MyArray(0)): T = Clng(MyArray(1))
R = Clng(MyArray(2)) : B = Clng(MyArray(3))
Delay 500
'4.搜狗浏览器地址栏
鼠标按下位置X = L + 240
鼠标按下位置Y = T + 35
End Function
Function 浏览器打开成功验证
i=0
If i < 5 Then
'通过坐标颜色识别网页是否成功打开
IfColor 596, 299, "FC823F", 0 Then
i = 5
Else
'循环四次打不开则重新打开
If i = 4 Then
Call 搜狗浏览器定位
Call 输入操作地址
End If
Delay 5000
i = i + 1
End If
End If
End Function
Function 输入操作地址
'1.1点击站点管理
MoveTo 鼠标按下位置X, 鼠标按下位置Y
Delay 300
LeftClick 1
Delay 1000
'1.2输入地址
操作链接 ="https://ziyuan.baidu.com/site/batchadd?mainsite=http://www." + 域名
SayString 操作链接
Delay 300
KeyPress "Enter", 1
Delay 1000
End Function
Function 随机字符串(位数)
Dim i,位置,字符串,字母
字母="ABCDEFGHIJKLMNOPQRSTUVWXYZabcdefghijklmnopqrstuvwxyz"
字符串=""
For i=0 To 位数 - 1
位置 = Int((Len(字母) * Rnd()) + 1)
字符串 = 字符串 & Mid(字母,位置,1)
Next
随机字符串 = 字符串
End Function
生成路径
Call 搜狗浏览器定位
Function 生成1个二级域名
二级前缀 = 随机字符串(二级域名长度)
二级域名 = 二级前缀 + "." + 域名
Call Plugin.File.WriteFileEx(二级前缀路径,二级前缀)
Call Plugin.File.WriteFileEx(二级域名路径,二级域名)
End Function
Function 发送10个二级域名
For 10
生成1个二级域名
SayString 二级域名
Delay 100
KeyPress "Enter", 1
Delay 100
Next
End Function
Function 识别是否有重复
IfColor 603, 480, "CF", 0 Then
TracePrint 当前时间 + "发现出现了错误"
FindColorEx 720,400,900,960,"FC823F",0,0.9,忽略错误X坐标,忽略错误Y坐标
//以下是条件判断;如果返回的坐标大于0,那么就说明找到了。
If 忽略错误X坐标 > 0 And 忽略错误Y坐标 > 0 Then
//如果出现错误则忽略
MoveTo 忽略错误X坐标, 忽略错误Y坐标
Delay 300
LeftClick 1
TracePrint 当前时间 + "点击忽略错误"
Delay 5000
End If
Else
'网络延迟,没有错误
Delay 100
End If
End Function
开始运行时间 = 当前时间
x = 1
//循环写入
For 100
TracePrint 当前时间 + "操作"
Call 输入操作地址
Call 浏览器打开成功验证
//点击进入输入框
MoveTo 695, 542
Delay 300
LeftClick 1
Delay 1000
发送10个二级域名
//点击添加网站
Delay 1000
MoveTo 672, 730
Delay 300
LeftClick 1
Delay 1000
//点击确定
MoveTo 869, 645
Delay 300
LeftClick 1
Delay 3000
TracePrint 当前时间 + "确定添加域名"
//判断是否添加成功
IfColor 604, 227, "333333", 0 Then
//添加成功,执行下一步
TracePrint 当前时间 + "添加成功域名"
Delay 500
Else
Delay 5000
识别是否有重复
Delay 5000
End If
If x < 10 Then
'新建搜狗浏览器标签
KeyDown 17, 1
KeyPress 78, 1
KeyUp 17, 1
Delay 500
Else
'关闭全部搜狗浏览器标签
KeyDown 17, 1
KeyDown 16, 1
KeyPress 87, 1
KeyUp 16, 1
KeyUp 17, 1
Delay 500
x = 1
End If
x = x + 1
Next
结束运行时间 = 当前时间
TracePrint "========================================================"
TracePrint "开始运行时间" + 开始运行时间
TracePrint "结束运行时间" + 结束运行时间
TracePrint "welcome to ccooc.cn"子站添加+推送截图
1.首先看一下子站添加程序的操作时间,1000个域名耗时41分钟;
2.下图是百度后台添加成功记录,显示已经添加了1000条二级域名子站点了,添加满了;
3.本地生成的目录文件如下:以域名命名的文件夹下有二级前缀和二级域名两个txt文件;
4.通过挂机推送工具的推送操作记录如下:
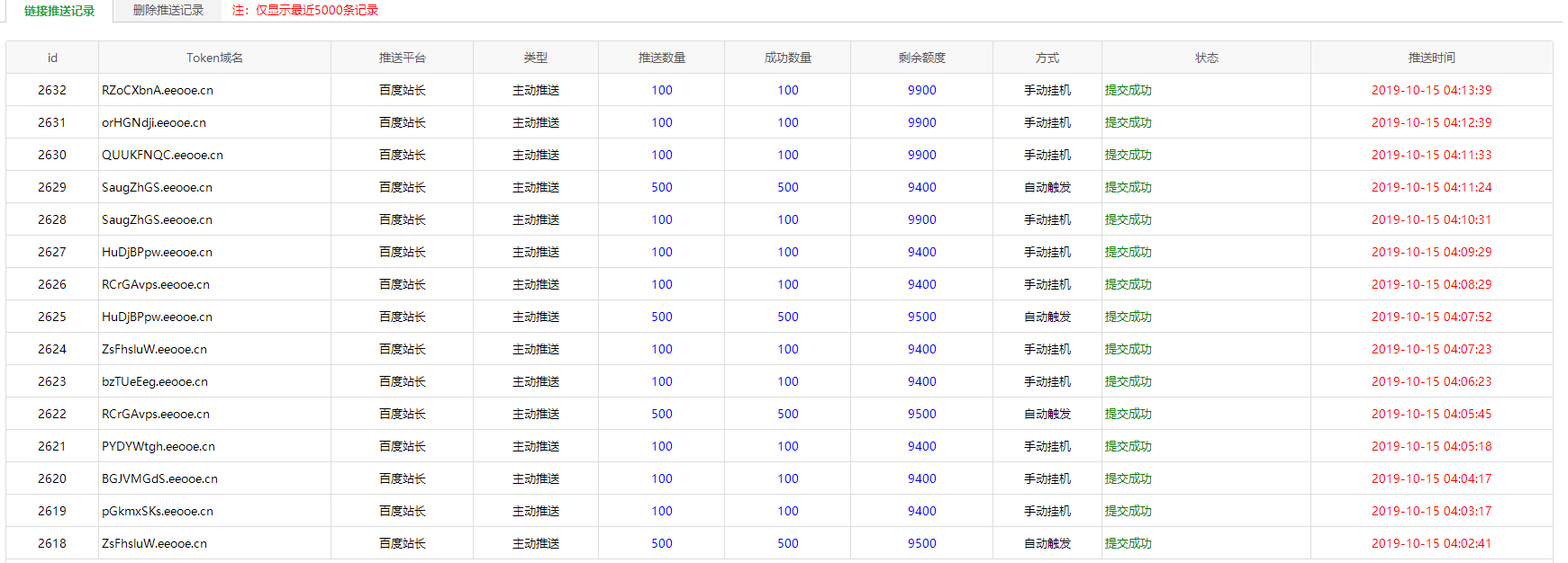
5.推送成功记录如下:
程序界面截图
1.百度站长批量添加子站工具软件说明:
2.批量添加子站工具设置页面
3.如出现提示请按“允许”;
重要说明
1、出售的使用程序构建思路、修改视频教程、使用方式以及配套开源代码;
2、赠送二级域名批量添加软件E语言版本;
购买软件
购买后可下载清单如下:
1.百度站长批量添加子站工具操作视频一份:按工具操作视频和推送操作视频;
2.二级域名添加工具
3.二级域名添加工具源码
2020-03-10 17:01:06 即日起拒绝销售!
说明
知悉:
1.程序由本博客首发,通过按键精灵编写;
2.屏幕分辨率为:1920*1080;
3.使用搜狗浏览器,高速模式(运用到默认快捷键:ctrl + n / 新建标签页;ctrl + shift + w/关闭所有标签;)
4.如坐标点击错误,可截图后联系本人修改;
原理:
自动生成二级域名前缀(保存至C盘根目录)----模拟手工提交(自动忽略重复的错误)


![[F]laughing[/F]](http://www.noteet.com/zb_users/theme/Lucky/source/face/laughing.gif)
站长大佬,程序我购买了,但是添加不上,点添加之后,弹出的对话框的确定,就差了那么点距离,点不到。
加了 没过
加了 你没通过 备注是大猫
大佬 子域名添加不上,点添加之后,弹出的对话框的确定,差了一点顶点距离,点不到他。 而且显示子域名添加数量上限 只有一百个
技术驱动seo啊,这个对于站群和泛解析的站长福音啊。
我要买我要买,尽快联系我一下